日期:2025-07-08 17:31:01
高铁电气晚间公告证星策略证星策略,公司控股子公司宝鸡保德利电气设备有限责任公司(简称“保德利”)近日收到长江沿岸铁路集团江苏有限公司中标通知书证星策略,保德利中标新建上海至南京至合肥高速铁路沪宁段(江苏段)国铁集团管理甲供物资(四电物资)接触网关键零部件项目,中标金额7176.16万元(含税)。
举报 第一财经广告合作,请点击这里此内容为第一财经原创,著作权归第一财经所有。未经第一财经书面授权,不得以任何方式加以使用,包括转载、摘编、复制或建立镜像。第一财经保留追究侵权者法律责任的权利。如需获得授权请联系第一财经版权部:banquan@yicai.com 相关阅读
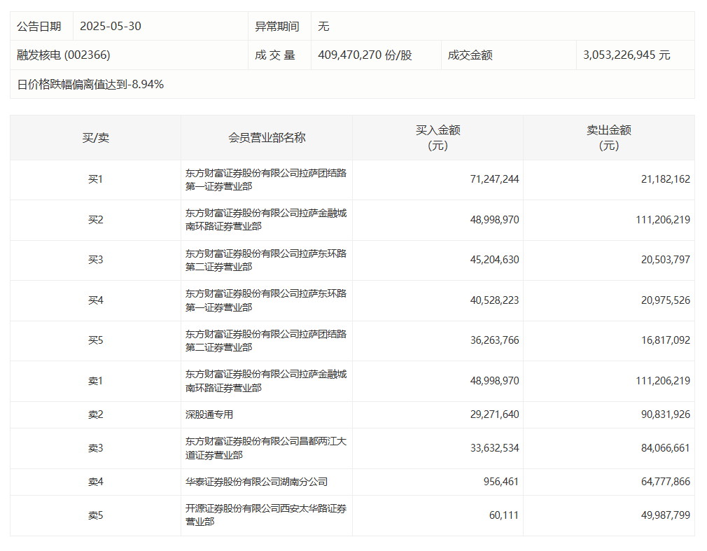
融发核电今日跌停 深股通专用席位买入2927.16万元并卖出9083.19万元融发核电今日跌停 深股通专用席位买入2927.16万元并卖出9083.19万元
0 05-30 16:29
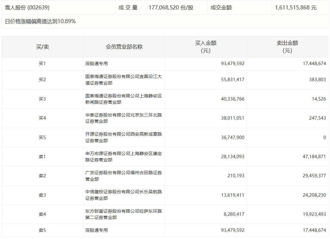
雪人股份今日涨停 深股通专用席位买入9347.96万元并卖出1744.87万元雪人股份今日涨停 深股通专用席位买入9347.96万元并卖出1744.87万元
18 05-23 16:26
今年投产高铁将超2500公里,新增两个“市市通高铁”省份渝黔高铁是目前在建的最临近开通的线路,另外还有10条高铁线路也正在以年内建成投运为目标做准备。
145 05-09 19:51
亚星锚链今日涨5.59% 沪股通专用席位买入8116.09万元并卖出4893.26万元亚星锚链今日涨5.59% 沪股通专用席位买入8116.09万元并卖出4893.26万元
0 03-27 16:13
权威专家:MLF不再有统一的中标利率证星策略,其政策属性完全退出权威专家:MLF不再有统一的中标利率,其政策属性完全退出
76 03-24 17:23 一财最热 点击关闭股票推荐配资提示:文章来自网络,不代表本站观点。